8 (925) 663-83-63Call-центр
пн-вс: 10:00-19:00
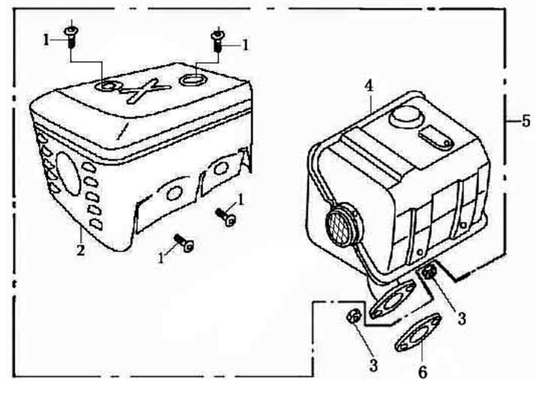
| N | Артикул | Название | Срок отгрузки | Цена | Купить |
| 5 | 0400.239000 | Глушитель с защитой в сборе двиг.R200L 18100-Z011010-H300: КБ60. | 1.735 р. | ||
| 6 | 0400.238400 | Прокладка глушителя. 180650077-0001. 168.170F. СМ. 0400.190900 | 240 р. | ||
| 6 | 0400.190900 | Прокладка глушителя. 180650065-0001. 168.170F | 154 р. |
| Найдено товаров: 3 |
|
8 (925) 663-83-63 Call-центр
пн-вс: 10:00-19:00
| Введите номер заказа |
| Введите номер своего заказа, что бы узнать его текущий статус. Что бы получить доступ к расширенным функциям, пройдите не сложную регистрацию. Зарегистрироваться |